作者: 安锐测控 / 2020年04月07日
一、项目概述
玉磨铁路把边江双线大桥为(88+168+88)m预应力混凝土连续刚构桥,全长344m。该桥采用有砟桥面,采用60kg/m的重型钢轨,正线为双线,线间距4.2m。列车设计行车速度为客车160km/h、货车120km/h。根据设计文件,该桥主梁采用悬臂灌注法施工。

为确保该桥的施工安全,成桥后结构应力、线形满足规范要求,受中铁四局集团第二工程有限公司玉磨铁路项目经理部委托,深圳安锐科技对该在建桥梁实施在线监测方案。

二、监测的目的和意义
大跨度桥梁设计与施工高度耦合,施工方法、材料性能、立模标高及预应力张拉大小等都直接影响成桥的线形与内力。施工过程中,施工误差、各参数实际值与设计值的差异都会影响到最终成桥线形和内力状态偏离设计要求,甚至将导致桥梁合拢困难。因此有必要通过采集施工数据和计算分析对比,调整混凝土浇筑时的立模标高,以使成桥线形满足设计要求。
三、主要监测项目
☑桥梁施工过程倾角在线监测
☑桥梁施工过程自身荷载在线监测
☑桥梁施工过程沉降在线监测
☑桥梁施工过程挠度在线监测
☑桥梁施工过程应变/应力在线监测
☑桥梁主梁位移在线监测
☑桥梁施工过程温度在线监测
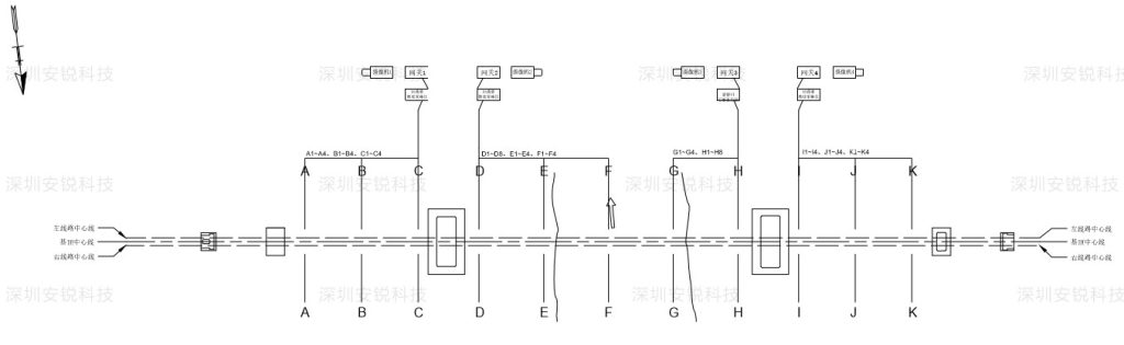
四、监测布点设计

如上图所示:桥梁共设有ABCDEFGHIJK共11个监测截面。在中跨较大的DH两个截面分别布设8个监测点,其它的截面分布布设4个监测点。截面布点如下图所示:


DH中跨截面布点其它截面布点
五、主要监测仪器/设备
高精度精力水准仪、内埋式振弦应变传感器、高精度倾角传感器、桥梁荷载传感器、内埋式温度传感器、风速风向传感器、物联网网关、远程视频监控摄像头、太阳能供电设备、安锐物联监测云平台
六、部分项目图






